
Schweisskonstruktionen nach deiner Skizze.
Du skizzierst, wir fertigen. Zuschnitt, Bohrung und Schweissarbeit.
Von der Stückliste zum fertigen Werkstück.
Bei MetallbauXpress bestellst du Schweisskonstruktionen ab Handskizze – Zuschnitt, Bohrung und Schweissarbeit aus einer Hand, Swiss Made aus Neuheim (ZG).
Die Stückliste ist die Basis deines Werkstücks. Du führst alle Profile auf, die du benötigst, und klickst sie im Stahlshop direkt zusammen. Falls du bei der Dimensionierung unsicher bist, findest du eine einfache Hilfe unter Dimensionierung von Stahlprofilen beim Metallwissen.
- Stückliste zusammenstellen
Profile und Längen im Stahlshop eingeben. - Skizze hochladen
Handskizze mit Massen als Anhang hochladen. - Wir fertigen
Zuschnitt, Schweissen, Oberflächenbehandlung – alles aus einer Hand.


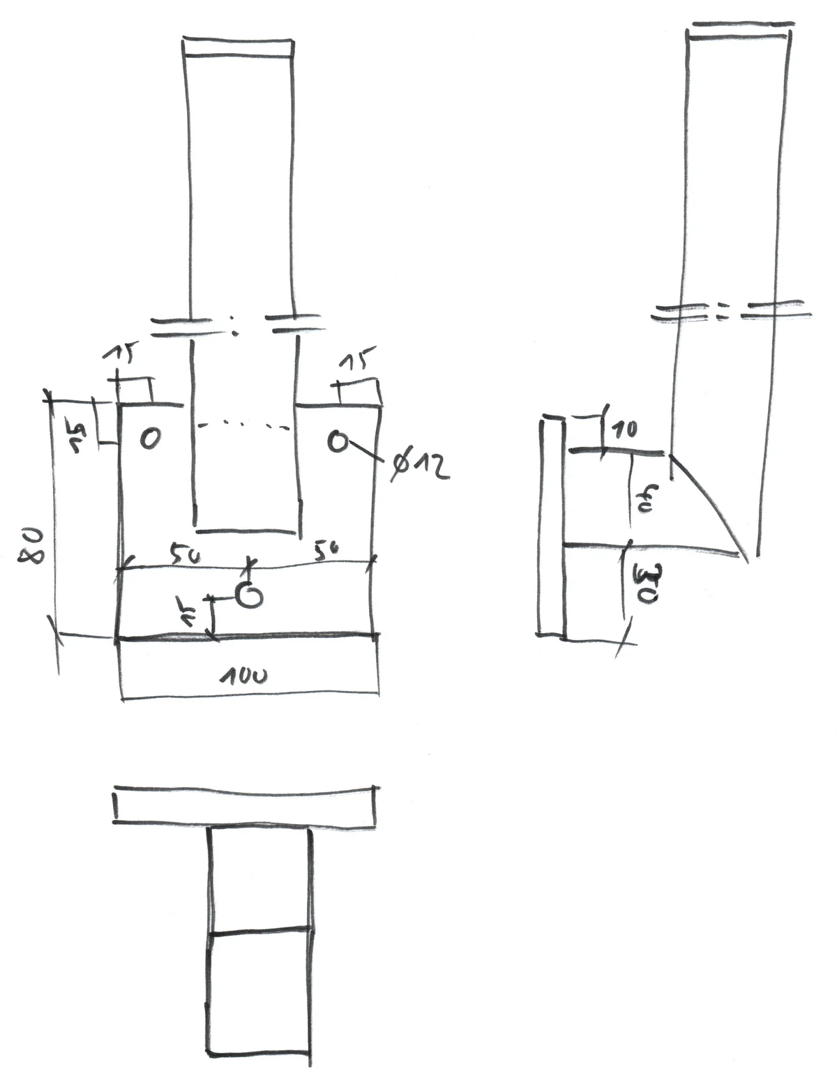
Richtig skizzieren für die Produktion.
Worauf es bei deiner Handskizze ankommt, damit wir direkt loslegen können.

Profilstärken-Check: Damit nichts durchhängt.
Welche Wandstärke und welches Profil für dein Projekt die richtige Wahl ist.

Oberflächen-Guide: Verzinkt, pulverbeschichtet oder roh?
Die Unterschiede der Oberflächen und wann welche Variante Sinn macht.
Beliebte Schweisskonstruktionen
Die häufigsten Projekte unserer Kunden – jedes Stück individuell nach Skizze gefertigt.

Gestelle
Stabile Metallgestelle nach Mass – für Lager, Werkstatt oder Garten.

Konsolen
Tragkonsolen und Wandhalterungen – präzise geschweisst nach deinen Massen.

Pfosten
Stützpfosten und Steher – individuell gefertigt für Zäune, Geländer oder Konstruktionen.
Aktuelles aus dem Metallbau

ECHTE ARBEIT.
EHRLICHE WORTE.
Wir unterstützen Hand- und Heimwerker bei ihren Projekten – das Feedback unserer Kunden ist unser täglicher Antrieb.
Google Bewertungen

Sali! Ich bin Christian.
Wenn du Fragen hast, bekommst du es wahrscheinlich zuerst mit mir zu tun. Melde dich gerne – ich freue mich, von dir zu hören!
Dein Werkstück – online bestellt.
Stückliste zusammenstellen, Skizze hochladen, bestellen.
Häufige Fragen
Stückliste im Stahlshop zusammenstellen, Handskizze mit Massen hochladen, bestellen. Wir prüfen alles und melden uns, falls etwas unklar ist.
Alle relevanten Masse, Abstände und die gewünschten Profile. Eine einfache Handskizze reicht – wir erstellen daraus die Fertigungszeichnung.
Roh, feuerverzinkt, pulverbeschichtet oder Duplex (verzinkt + pulverbeschichtet).









