
So skizzierst du für die Produktion
Damit dein Auftrag auf Anhieb klappt: Normalprojektion, Bemassungen und Schweissnähte richtig einzeichnen.
Anleitungsvideos zum Zeichnen
Die Bestellung bei metallbauXpress ist so einfach, weil du keine aufwändigen Konfiguratoren durcharbeiten musst. Ob CAD-Programm oder Handskizze – beides funktioniert. In den Videos zeigen wir dir, worauf es ankommt.
Ansichten zeichnen
Ansichten bemassen
Die Stückliste als Basis
Wie in jedem Projekt ist die Stückliste die Basis deines Werkstücks. In dieser Stück- oder Zuschnittliste führst du alle Profile auf, die du für dein Werkstück benötigst. Bei uns kannst du im Stahlshop das benötigte Material direkt in der Stückliste zusammenklicken.
Falls du dir bei der Dimensionierung der Profile unsicher bist, findest du eine einfache Hilfe auf unserer Seite zur Dimensionierung von Stahlprofilen.
.webp)

Per Handskizze online bestellen
Dank der vorher zusammengeklickten Stückliste ist die Skizze schnell erstellt. Die Profillängen musst du nicht nochmals vermassen – die haben wir schon. Wichtig für die Skizze sind:
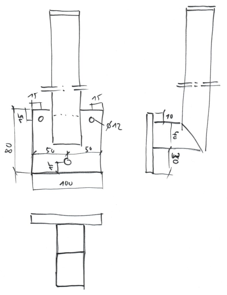
Löcher mit horizontalem und vertikalem Mass bemasst
Angabe der Lochdurchmesser
Position von Bauteilen, die nicht bündig sind
Zeichnen in Normalprojektion – mindestens Vorderansicht, falls nötig Seitenansicht und Draufsicht
Zeichne in Normalprojektion
Beim Skizzieren gibt es verschiedene Methoden. Eine 3D-Skizze ist schön, brauchen wir aber nicht. Am einfachsten für uns ist, wenn du die Vorderansicht zeichnest und das Bauteil dann gedanklich nach rechts respektive nach unten «ablegst» – genau gleich wie Schnittbilder aufgebaut sind.
Vorderansicht – die Hauptansicht deines Bauteils
Seitenansicht – nach rechts ablegen
Draufsicht – nach unten ablegen
So kann unser Team die Zeichnung eindeutig lesen – ohne Rätselraten.

Schweissnähte nicht vergessen
Auf der Zeichnung stellt man Schweissnähte normalerweise nicht dar. Bedenke aber, dass sie Platz brauchen. Wenn wir zwei Profile plan verschweissen, verschleifen wir die Naht anschliessend. Bei einem Winkel – wie an Rohrenden oder bei einem Anschluss an die Fussplatte – wird eine sogenannte Kehlnaht geschweisst.
Berücksichtige hier den benötigten Abstand zu Schrauben oder anderen Bauteilen: Mit 10 mm Abstand hast du sicher genug eingerechnet. Bei Löchern musst du zusätzlich an Schraubenköpfe und Muttern denken.
Mindestens 10 mm Abstand zwischen Schweissnaht und Schrauben
Mindestens 10 mm Abstand zwischen Schweissnaht und Nachbarbauteilen
Kehlnähte sind die häufigste Nahtform im Metallbau
Häufige Fragen zum Skizzieren
Eine saubere Handskizze reicht völlig. Wichtig ist, dass alle Masse, Löcher und Positionen klar eingetragen sind. Eine CAD-Zeichnung ist natürlich auch willkommen.
Bei der Normalprojektion zeichnest du dein Bauteil in mehreren Ansichten: Vorderansicht, Seitenansicht und Draufsicht. Die Ansichten werden nach rechts und nach unten abgelegt – so ergibt sich ein einheitliches, lesbares Bild.
Kehlnähte brauchen Platz. Wenn eine Schweissnaht zu nah an einer Schraube oder einem Bauteil liegt, kann die Naht nicht sauber ausgeführt werden. Deshalb gilt: Mindestens 10 mm Abstand zu Schrauben und angrenzenden Bauteilen einplanen.
Wir melden uns bei dir, wenn etwas unklar ist. Aber je vollständiger deine Skizze ist, desto schneller geht es – und desto weniger Rückfragen gibt es.

Dein Ansprechpartner
Sali! Ich bin Christian. Wenn du Fragen hast, bekommst du es wahrscheinlich zuerst mit mir zu tun 🙂. Melde dich gerne bei mir – ich freue mich! Sollte ich verhindert sein, kümmern sich Andrin oder Eliane um deine Anfrage.
+41 41 530 71 30
Das könnte dich auch interessieren
Stahlprofile dimensionieren
Belastungstabellen für Quadratrohre, Rechteckrohre, IPE- und HEA/HEB-Träger. Einfach auslesen – kein Statiker nötig.
Bohren in Stahlprofile
Der richtige Bohrer, die richtige Drehzahl und warum Kühlung so wichtig ist.
Stahl Oberflächen
Feuerverzinkung, Pulverbeschichtung, Duplex – welcher Schutz für welches Projekt.
Skizze bereit? Dann los.
Stückliste zusammenklicken, Skizze hochladen, Optionen wählen – Preis sofort online berechnen. Ohne Mindestmenge.